Spouwstoel in spouwmuur toepassing
Spouwstoel

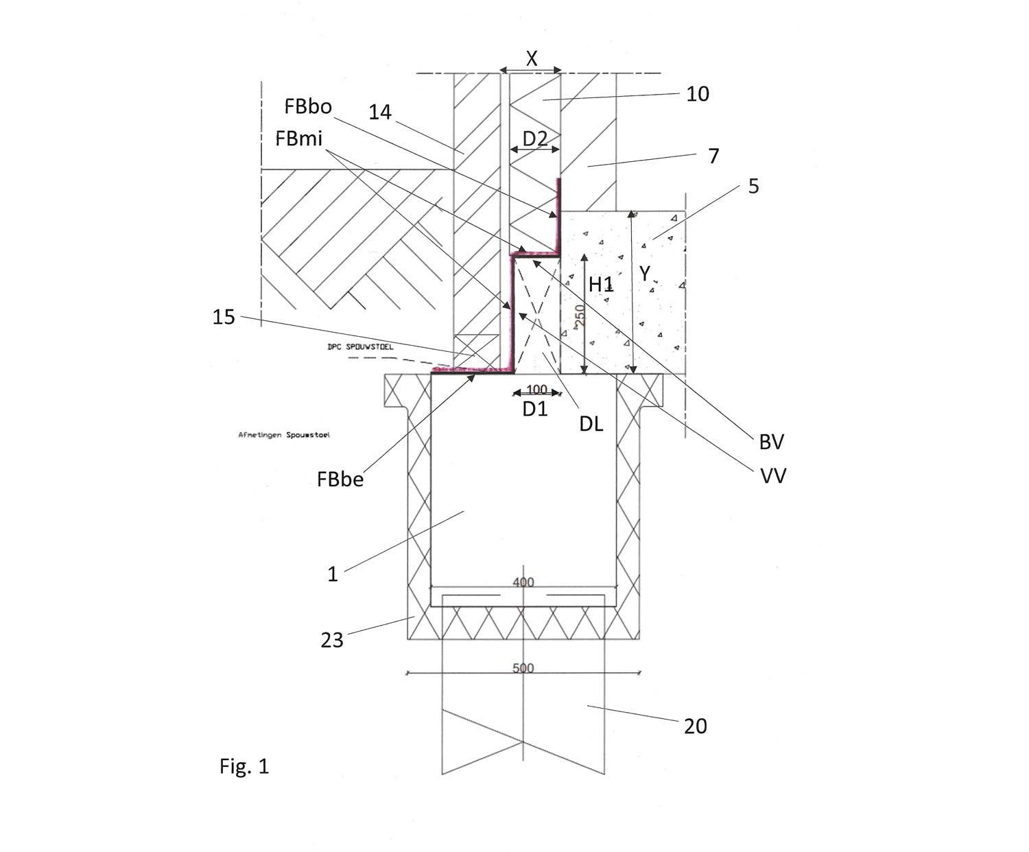
De Spouwstoel - Ondersteuning spouwisolatie op fundering 

De Spouwstoel is een prefab isolerende element dat direct op de fundering wordt geplaatst en naadloos aansluit tegen de begane-grondvloer.

In traditionele spouwmuurconstructies wordt isolatie vaak circa 50 mm boven de fundering aangebracht, met spouwhaken of op bakstenen. Dit voorkomt vochtopname, maar introduceert tegelijkertijd zwakke plekken zoals koudebruggen, optrekkend vocht en ongewenste luchtstromingen.

De Spouwstoel maakt het mogelijk om isolatieplaten direct op de fundering te plaatsen zonder risico op vochtproblemen en draagt bij aan een thermisch en luchtdicht detail.

Door de isolatie op de fundering te laten rusten kan de isolatielaag doorlopen tot aan de basis van de gevel. Dit resulteert in een constructief en bouwfysisch logischer detail:

  • Er ontstaat een doorlopende isolatielaag en de spouwisolatie wordt stabiel ondersteunt.
  • Koudebruggen en luchtstromingen onderin de spouw worden beperkt.
  • In combinatie met luchtdichte tape ontstaat een zeer goede luchtdichte aansluiting.
 
De spouwstoel bestaat uit een prefab isolatie element voorzien van een waterkerende folie. De linkerzijde van de Spouwstoel is uitgevoerd met een overlap van 150 mm voor een eenvoudige en aaneengesloten plaatsing.
 

Voordelen Spouwstoel

  • Doorlopende isolatielaag vanaf fundering. Geen onderbreking meer onderin de gevel. Stevig en stabiele basis voor kim constructie.
  • Beperking van koudebruggen. De overgang tussen fundering, spouw en vloer wordt thermisch consistenter uitgevoerd. Geen warmteverlies meer via de kim.
  • Verbeterde luchtdichtheid. Voorkomt luchtstroming via de spouw onderin de gevel.
    Dat beperkt tocht en energieverlies.
  • Helpt de spouw af te sluiten tegen ongedierte. De Spouwstoel draagt bij aan een strakke en gesloten aansluiting ter hoogte van de fundering, waardoor ongewenste toegang tot de spouw wordt beperkt. 
  • Eenvoudiger en sneller bouwen. Licht van gewicht. Eenvoudig en consistent te verwerken. Zorgt voor tijdsbesparing voor kimzetter. Er is geen DPC of dakbedekking meer nodig. 
  • Waterkerende ondersteuning. Helpt vocht ter hoogte van de funderingsaansluiting beheerst af te voerenen buiten de constructie te houden.

Montage spouwstoel

Hieronder volgt een beknopte montagebeschrijving. Bekijk onze downloads voor een uitgebreide versie. 

1. Werk veilig en gebruik persoonlijke beschermingsmiddelen.
2. Zorg dat binnenmuren, vloeren en steiger gereed zijn.
3. Maak de fundering schoon en droog.
4. Breng primer aan op binnenmuur en fundering.
5. Breng lijmkit aan op fundering en indien nodig op de Spouwstoel.
6. Plaats de Spouwstoel, druk aan in de lijmkit en plak de strip vast op BG-vloer en binnenmuur.
7. Boor gaten voor de muisroosters, plaats de muisroosters en kit deze af.
8. Tape alle verticale naden luchtdicht af.
9. Plaats daarna de kozijnbeugels en vervolgens de kozijnen.
10. Breng zo snel mogelijk de spouwmuurisolatie aan.
11. Advies: maak rondom een grindkoffer met drainage.
010 302 0200Bel ons nu

Spouwstoel

Prefab element voor het ondersteunen van spouwisolatie direct op de fundering. Voorkomt koudebruggen, verbetert luchtdichtheid en zorgt voor een doorlopende isolatielaag vanaf de basis van de gevel.

Spouwstoel afmetingen

De Spouwstoel is uit leverbaar in de volgende varianten.
Overige maten zijn op aanvraag beschikbaar. 

VariantLengteDikteHoogteFolie
Spouwstoel PS-isolatie1000 mm 100 mm200 mmWaterkerende folie 
Spouwstoel XPS-isolatie1250 mm 120 mm 200 mm Waterkerende folie


 

Spouwstoel Video

Gerelateerde producten
IKO Enertherm WOOD
Bekijk product
Eurothane G
Bekijk product
Project Xylino Almere
Bekijk project
Balpol IV Delft
Bekijk project
Amsterdam RAI hotel
Bekijk project
Woodiez
Bekijk project
Project Xylino Almere
Bekijk project
Balpol IV Delft
Bekijk project
Amsterdam RAI hotel
Bekijk project
Woodiez
Bekijk project
Project Xylino Almere
Bekijk project
Balpol IV Delft
Bekijk project
Amsterdam RAI hotel
Bekijk project
Woodiez
Bekijk project
Project Xylino Almere
Bekijk project
Balpol IV Delft
Bekijk project
Amsterdam RAI hotel
Bekijk project
Woodiez
Bekijk project